您当前的位置:首页 > 产品展示

4-72、4-79型离心风机

产品名称:4-72、4-79型离心风机
产品编号:17
产品型号:离心风机系列

4-72(79)离心风机
机号::2.8#-6# 风量:565-15455m3/h 风压:176-3334pa
特点:采用A式直联传动,后倾式离心叶轮,通风换气、可制作成防爆及防腐型,有钢制和玻璃钢制作
应用:各类大中型工厂和高级民用建筑.大型场馆

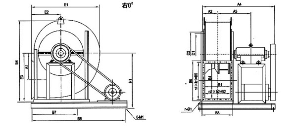
4-72(79)离心风机
机号:6#-12# 风量:4420-48800m3/h 风压:317-2118pa
特点:采用E式皮带传动,后倾式离心叶轮,通风换气、可制作成防爆及防腐型,有钢制和玻璃钢制作
应用:各类大中型工厂和高级民用建筑.大型场馆

一二、风机型式及传动试(亦适用于9-19、C6-48及其它离心风机)
 风机分左旋和右旋两种型式,从电机(皮带轮)侧正视,叶轮按顺时针方向旋转为右旋,逆时针旋转为左旋。A式为电机直联传动, B、C、E式为皮带传动,D、F式为联轴器传动。

Copyright ? 尊龙凯时风机(集团)有限公司 (绍兴尊龙凯时风机销售有限公司) 版权所有    浙ICP备20027036号-2        浙公网安备33060402001868